概述
传统的变电站运维管理方式,主要依靠配电运维人员的实际经验和技术能力水平,大多数处理方式是事后处理问题,对用电的隐患没有提前及时发现处理,给企业生产带来不必要的损失。
随着新一轮电力体制改革深入开展,国家对电力需求侧管理工作也是在稳步推进,工业部和信息部印发《工业企业实施电力需求侧管理工作评价办法(试行)》,夯实工业领域电力需求侧管理工作基础。企业对电能的精细化管理需求日益高涨,一方面提升企业内部自身的管理能力,同时响应国家电力需求侧管理,降低企业用电成本,提高经济效益。售电公司引入市场竞争,让传统的电力市场垄断逐步被打破,微电网、分布式发电已成为新的趋势。
参考标准
GB50052-2009 《供配电系统设计规范》
GB50054-2011 《低压配电设计规范》
GB2887-2000 《电子计算机场地通用规范》
GB/T 13729-2002 《远动终端设备》
GB/T 50063-2008 《电力装置和电测仪表装置设计规范》
GB14285-2006 《继电保护及安全自动装置技术规程》
DL/T814-2002 《配电自动化系统功能规范》
DL/T721-2000 《配电自动化系统远传终端》
DL/T5003-2005 《电力系统调度自动化设计技术规程》
GB50395-2007 《视频安防监控系统工程设计规范》
系统简介
概述
电力远程运维系统主要依托斯菲尔云憬智慧能源管理平台,可实现对企业用户电能精细化管理服务、变电室无人值守、节能分析服务等,通过现代物联网技术,贯彻先进的管理理念和完善的管理体系用的手段使被动抢修彻底转变为主动运维。
远程运维主要基于云平台服务实现电力监控、安防及门禁监控等,通过通讯管理机采集测控层智能监控设备(电力仪表、微机综合保护装置、烟感、温感、门禁、摄像头等),经过路由器网关设备将数据上传至云平台,整个系统采用B/S架构,客户可通过web端或手机APP实时查看配电室的运行状态,实现无人值守或少人值守。

硬件架构

主要分为测控层、传输层、应用层,测控层主要包含测控采集设备如电力仪表、微机综合保护装置、变压器温控仪、环境监控设备及视频监控设备。传输层把测控层采集的数据通过移动运营商网络或者互联网接入方式上传到云服务器。应用层为用户提供显示实时数据、报表等功能。
软件架构

平台主要架构分为采集层、聚合层、服务层及应用层。底层设备采集数据通过网关上传至云平台,平台服务器基于DOCKER容器部署,根据客户需求可后续增加新的业务内容,具有横向扩展性,通过分布式服务器集群可并行处理海量数据,实时数据分析处理和存储服务达到按需部署的要求,API系统集成功能供第三方平台调用。
平台特点
高可用性
软件可跨平台运行,支持Windows和Linux等主流操作系统。出现服务器故障或程序问题时保证业务正常访问,避免出现单点故障。
横向扩展性
随着用户业务需求增加,采用NoSQL非关系型数据库,具有高并发数据处理能力,部署更便捷。
纵向伸缩性
根据客户的实际要求按需部署,随用户接入的项目数及监控点数动态增加采集服务器、数据库服务器和应用服务器保证计算能力。
数据安全性
传输层采用MQTT协议,所有上传到云平台的数据通过SSL/TLS认证加密方式,同时服务端采用身份验证方式,保证数据安全。
设备易接入
可满足客户多设备接入(包括微机综合保护、电力仪表、无功补偿控制器、变压器温控仪、门禁系统、安防系统等),内置丰富协议可满足常用Modbus-RTU、DLT645、IEC61850、IEC101/102/103/104等,如客户有特殊协议可开发定制。
平台功能

电力远程运维平台主要保障用户用电安全、可靠、稳定为目标,结合多年实际现场运维经验,主要包括用电分析、能效计算、配电室巡查、故障处理等功能,给用户提供完善的电力监控系统、电气火灾监控系统、环境设备监控系统、安防监控系统等解决方案。
随着新一轮电力体制改革深入开展,国家对电力需求侧管理工作也是在稳步推进,工业部和信息部印发《工业企业实施电力需求侧管理工作评价办法(试行)》,夯实工业领域电力需求侧管理工作基础。企业对电能的精细化管理需求日益高涨,一方面提升企业内部自身的管理能力,同时响应国家电力需求侧管理,降低企业用电成本,提高经济效益。售电公司引入市场竞争,让传统的电力市场垄断逐步被打破,微电网、分布式发电已成为新的趋势。
系统功能
用电分析
每个站点的用电状况,站点的变压器容量、电能数据、最大负荷及需量、安全运行及告警显示,快速了解站点用电状况,也可对比同期用电,直观体现用电趋势。

报表统计及分析
对各回路运行数据统计,实时数据可用EXCEL格式导出,可提供历史数据报表,电能分项报表,电能质量报表,日报表、月报表、季报表、年报表等,同时系统可生成如折线图、柱状图等,直观反映系统运行情况,满足用户不同需求,为后期节能改造服务提供基础数据。

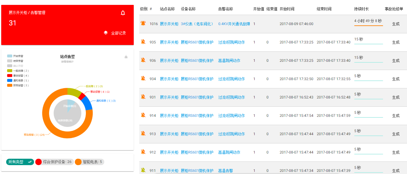
事件报警及记录
对各个回路运行状态实时监测,出现异常情况,立即提示并发出声光报警,客户可通过历史记录回溯进行事故分析。

视频监控
通过现场安装摄像头设备,可实时监控配电房环境。大大提高运维工作人员效率,减少现场往返时间。

手机APP及短信报警
通过手机APP查看所有变电站的实时数据、状态、报警事故信息,方便用户随时随地对系统运行进行查看,同时可指定手机发送报警短信,确保信息不遗漏。
